Новинки российских авиапатентов. В МАИ запатентовали тяжёлый гидросамолёт с коробчатым крылом
2
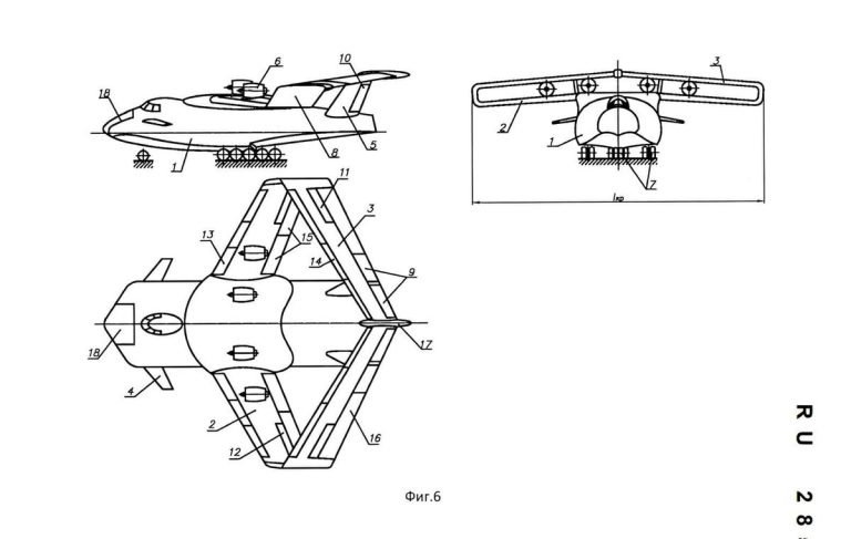
Недавно на страницах нашего сайта была выложена статья об альтернативной концепции самолёта с коробчатым крылом. И вот — перед вами вполне реальный проект такой машины, обнаруженный в реестре патентов Российской Федерации. О нем и пойдет рассказ ниже.
Содержание:
Введение
В условиях возрастающих требований к транспортной доступности удалённых и труднодоступных регионов, характеризующихся отсутствием развитой аэродромной инфраструктуры, актуализируется задача создания летательных аппаратов, сочетающих высокую грузоподъёмность с возможностью эксплуатации с водной поверхности. Коллективом инженеров Московского авиационного института (МАИ) предложена инновационная схемотехника тяжёлого самолёта-амфибии, в основе которой лежит применение замкнутой крыловой конфигурации ромбовидной геометрии. Данная разработка направлена на достижение компромисса между аэродинамической эффективностью, грузоподъёмностью и гидродинамической устойчивостью аппарата.
Аэродинамическая конфигурация несущей системы
Ключевой особенностью предложенной компоновки является интеграция переднего и заднего крыльевых элементов в единую замкнутую структуру ромбовидной формы. Подобная архитектура способствует минимизации индуктивного сопротивления за счёт снижения энергопотерь в концевых вихрях и оптимизации распределения циркуляции скорости по размаху. Теоретические расчёты и результаты численного моделирования указывают на повышение аэродинамического качества несущей системы при сохранении компактных габаритных параметров.
Применение замкнутого крыла позволяет обеспечить уровень грузоподъёмности, сопоставимый с характеристиками тяжёлых транспортных самолётов традиционной схемы, при длине летательного аппарата, не превышающей 50 метров. Расчётная полезная нагрузка варьируется в диапазоне 100–120 тонн, что обусловлено синергетическим эффектом от совместной работы крыловой системы и фюзеляжа, выполняющего функцию дополнительного несущего элемента.
Гидродинамические характеристики корпуса и обеспечение устойчивости на водной поверхности
Конструкция фюзеляжа разрабатывалась с учётом необходимости обеспечения устойчивости и управляемости аппарата при движении по воде. Нижняя часть корпуса характеризуется высокой килеватостью (V-образное сечение), что способствует снижению гидродинамического сопротивления при разбеге и уменьшению ударных перегрузок при волнении. Наличие специального уступа — редана — обеспечивает контролируемый отрыв аппарата от водной поверхности за счёт формирования зоны разрежения и снижения силы присасывания.
Отказ от применения внешних поплавков, традиционно используемых в схемах самолётов-амфибий, стал возможным благодаря увеличенной ширине корпуса, обеспечивающей достаточную поперечную остойчивость. Фюзеляж, функционирующий в качестве несущей поверхности, генерирует дополнительную подъёмную силу как в воздушной, так и в водной среде, что положительно сказывается на взлётно-посадочных характеристиках.
Эксплуатационные аспекты и потенциал применения
Предложенная схемотехника открывает перспективы для эксплуатации летательного аппарата в регионах с неразвитой транспортной инфраструктурой, включая арктические зоны, прибрежные территории и архипелаги. Способность совершать взлёт и посадку как на подготовленные аэродромы, так и на естественные водные поверхности расширяет оперативные возможности транспортного комплекса.
Дополнительным фактором повышения эффективности является использование экранного эффекта при полётах на малых высотах над водной или ровной земной поверхностью. Данный физический феномен, обусловленный увеличением подъёмной силы и снижением индуктивного сопротивления вблизи экрана, позволяет сократить удельный расход топлива и увеличить дальность полёта при транспортировке грузов.
Тактико-технические характеристики:
- Максимальная взлётная масса ~100–120 т
- Расчётная полезная нагрузка – 100–120 т
- Длина летательного аппарата ~50 м
- Тип крыла – Замкнутое, ромбовидной конфигурации
- Тип шасси – Амфибийное, с возможностью эксплуатации с водной поверхности,
- Особенности аэродинамики – Использование экранного эффекта, фюзеляж как несущая поверхность.
Заключение
Разработанная в МАИ концепция тяжёлого самолёта-амфибии с замкнутой ромбовидной крыловой системой представляет собой перспективное направление в области авиационного транспорта. Интеграция передовых аэродинамических решений с оптимизированными гидродинамическими характеристиками корпуса создаёт предпосылки для создания универсального транспортного средства, способного эффективно функционировать в условиях отсутствия развитой наземной инфраструктуры. Дальнейшие исследования, включая натурные испытания масштабных моделей и детальный анализ прочностных характеристик, позволят верифицировать теоретические преимущества предложенной схемы и определить оптимальные области её практического применения.
По материалам — https://dzen.ru/a/ad8O-jljwSj4CnkH




