В эпоху, когда мировая автомобильная индустрия активно переключается на электротягу, российские инженеры делают неожиданный ход. Воронежский государственный аграрный университет имени императора Петра I запатентовал инновационный двигатель внутреннего сгорания с автоматической регулировкой степени сжатия. Это изобретение может стать серьёзным аргументом в пользу того, что традиционный ДВС ещё рано списывать со счетов.

Содержание:
Суть инновации: составной поршень нового поколения
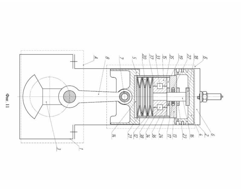
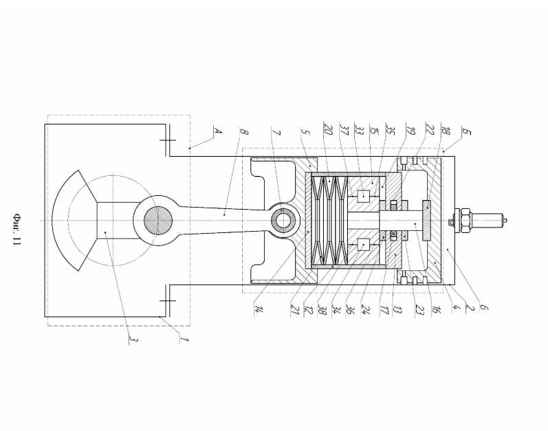
В основе запатентованной разработки лежит оригинальная конструкция поршня, состоящего из двух функциональных частей. Верхний элемент непосредственно воспринимает давление раскалённых газов в камере сгорания, тогда как нижняя часть связана с коленчатым валом через шатун или альтернативный передаточный механизм. Между этими компонентами инженеры разместили гидравлическую систему, включающую две масляные камеры и подвижный поршень-регулятор, способный динамически изменять их объём в процессе работы двигателя.
Такая компоновка позволяет реализовать плавную и точную настройку степени сжатия «на лету», без остановки силового агрегата и без участия водителя. Автоматизация процесса достигается за счёт работы двух обратных клапанов — высокого и низкого давления — а также блока упругих элементов, выполненных в виде тарельчатых пружин с предварительным натягом. Именно эта система обеспечивает стабильную и предсказуемую реакцию двигателя на изменение нагрузки.
Преимущества перед традиционными решениями
Главная цель воронежских разработчиков — не просто создать любопытный технический эксперимент, а предложить решение с практической ценностью. Новый ДВС призван снизить массу и габариты силового агрегата при одновременном повышении его надёжности и ресурса. Параллельно инженеры ставят задачу уменьшить расход топлива и увеличить долговечность ключевых узлов двигателя.
Важным аспектом является возможность адаптации степени сжатия под различные режимы работы: от экономичного городского цикла до высоконагруженных условий эксплуатации. Это особенно актуально в свете ужесточения экологических норм и роста требований к эффективности транспортных средств. Калиброванные кольца, используемые в конструкции, позволяют точно задавать минимальные и максимальные значения степени сжатия, а рабочее давление в гидросистеме на уровне 0,15–0,25 МПа делает возможным применение компактного гидроаккумулятора без ущерба для производительности.
Технические характеристики разработки:
- Тип двигателя: ДВС с автоматической регулировкой степени сжатия
- Конструкция поршня: составная, двухсекционная
- Система регулировки: гидравлическая с двумя масляными камерами
- Рабочее давление в системе: 0,15–0,25 МПа
- Элементы управления: обратные клапаны высокого и низкого давления, тарельчатые пружины с предварительным натягом
- Настройка пределов сжатия: калиброванные кольца
Реакция экспертного сообщества и перспективы внедрения
Как и любое новшество, патент воронежских инженеров вызвал неоднозначную реакцию в профессиональной среде. Некоторые специалисты отмечают, что двигатели с регулируемой степенью сжатия уже существуют в мире, и вопрос заключается в целесообразности усложнения конструкции. Другие указывают на потенциальные риски, связанные с увеличением количества подвижных элементов и возможным снижением надёжности при высоких оборотах.
Тем не менее, сама по себе идея автоматической адаптации параметров работы ДВС под текущие условия остаётся перспективной. Особенно если учесть, что в гибридных силовых установках, где ДВС работает в паре с электромотором, возможность оптимизации степени сжатия может дать существенный прирост эффективности. Разработка аграрного университета может найти применение не только в автомобильной отрасли, но и в спецтехнике, малой авиации и стационарных энергоустановках.
Заключение: ДВС ещё скажет своё слово
Патент из Воронежа — это не просто техническая диковинка, а сигнал о том, что инженерная мысль в России продолжает развиваться даже в условиях глобального тренда на электрификацию транспорта. Возможно, именно такие локальные, но глубокие инновации позволят традиционным двигателям внутреннего сгорания занять новую нишу — не как массового решения для легковых авто, а как высокоэффективного, адаптивного и экономичного агрегата для специализированных задач.
Пока мир спорит о будущем электромобилей, российские инженеры предлагают альтернативный путь: не отказываться от проверенных технологий, а совершенствовать их, добавляя интеллект и гибкость. И кто знает — возможно, именно такой подход окажется ключом к устойчивому транспортному будущему.
По материалам — https://dzen.ru/a/aeb1rW3-tUNFPUN_



