Т‑4МС — гениальный проект, похороненный ради Ту‑160. Трагическая история советского „сверхзвукового чуда“
Первый опытный экземпляр стратегического бомбардировщика-ракетоносца Ту-160 впервые поднялся в небо в конце декабря 1981 года. При этом работы по стратегу нового поколения стартовали еще в конце 1960-х и шли не только в КБ Туполева: свои проекты готовили и Сухой с Мясищевым.
И если бы история повернулась несколько по-другому, то вместо привычного нам «Белого лебедя» на вооружение могли бы принять совсем другую машину, чей облик больше напоминал не боевой самолет, а что-то из фантастических фильмов.
Речь о проекте многорежимного сверхзвукового стратегического бомбардировщика-ракетоносца Т-4МС, который в документах фигурировал как «самолет 200».
Содержание:
Идея
Работы над новым стратегическим межконтинентальным самолетом (СМС) стартовали в СССР в 1967 году как ответ на американскую программу AMSA, в рамках которой разрабатывался многорежимный стратегический бомбардировщик-ракетоносец.
После отмены высотной и скоростной «Валькирии» в США решили изменить подход: появление в СССР зенитно-ракетных комплексов, строительство эшелонированной ПВО делало высотный скоростной прорыв слишком сомнительным мероприятием.
Поэтому было решено сделать ставку на прорыв ПВО на низких высотах с огибанием рельефа местности. Низколетящие скоростные цели до сих пор являются сложными даже для современных комплексов, а ЗРК того времени зачастую еще и имели значительные мертвые зоны по высоте, что увеличивало шансы атакующей стороны.
В рамках этой концепции решено было создать бомбардировщик-ракетоносец с изменяемой геометрией крыла, высокой дозвуковой скоростью на малых высотах и умеренной сверхзвуковой (до 2 Маха) на больших. В итоге на свет появился сначала B-1A, а затем и B-1B, пошедший в серию.
В СССР пошли по другому пути. От самолета требовали фантастических характеристик: крейсерская скорость на высоте в 18 000 м задавалась на уровне 3200-3500 км/ч, а дальность полета на этом режиме определялась в 11 000-13 000 км. На дозвуковой скорости максимальная дальность высотного полета задавалась в 16 000-18 000 км, у земли — 11 000-13 000 км.
Ничего не напоминает? Всё верно: советские военные хотели свою вариацию на тему «Валькирии», от которой американцы фактически отказались еще в начале десятилетия, да еще и с дальностью полета, увеличенной в два-три раза. При этом самолет предполагался многорежимным, чтобы иметь возможность как скоростного прорыва, так и барражирования в зоне ожидания на дозвуковой скорости.
Позднее требования скорректируют в сторону более реалистичных. И, кстати, принятый спустя 20 лет на вооружение Ту-160 будет далек от требований 1967 года.
Наследник «Сотки»
Во второй половине 1960-х КБ Сухого плотно работало над созданием дальнего ударно-разведывательного комплекса Т-4 (самолет 100, «Сотка»). Именно его и взяли за основу проекта стратегического многорежимного самолета.
Сперва планировалось обойтись относительно малой кровью. Проект Т-4М (самолет «100 И») предполагал замену треугольного крыла на крыло с изменяемой стреловидностью, расширение фюзеляжа, увеличение экипажа на одного человека (второго летчика). В остальном же планировалось максимально сохранить компоновочные решения, узлы и агрегаты от Т-4.
Проект закрыли в 1970 году после проработки 36 вариантов компоновок. Ахиллесовой пятой Т-4М стало крыло, а точнее, его поворотные части большого удлинения. Расчеты показали, что при максимальной стреловидности они сильно закручивались бы и теряли подъемную силу. В результате машина попадала в очень большую степень неустойчивости, которую ЭДСУ в то время не могли парировать.
Также существующая компоновка серьезно ограничивала возможности по размещению вооружения, поскольку отсутствовали внутренние отсеки.
ЭДСУ — электродистанционная система управления самолетом. Впервые в СССР была реализована на Т-4. Сейчас является стандартом для всех современных самолетов. Обеспечивает не только передачу сигналов от органов управления на управляющие поверхности, но и без участия экипажа автоматически стабилизирует самолет в полете.
Т-4МС
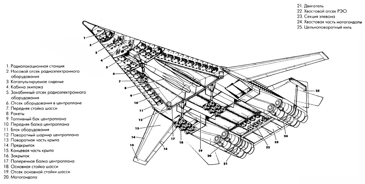
И вот, собственно, ради чего мы собрались. Следующим шагом для КБ Сухого стала разработка двухрежимного стратегического бомбардировщика принципиально новой компоновки. Несмотря на широкое использование узлов и агрегатов от Т-4, облик новой перспективной машины отличался кардинально.
Аэродинамическая схема
Можно сказать, что интегральную схему, в которой фюзеляж плавно перетекает в крыло, конструкторы Т-4МС выкрутили на максимум — самолет представлял собой летающее крыло с небольшими плоскостями изменяемой стреловидности. Такая компоновка была предложена в августе 1970 года и взята за основу аванпроекта.
Она позволила:
-
получить большие внутренние объемы для размещения бортового оборудования, систем, вооружений и топлива при минимальной омываемой поверхности;
-
обеспечить максимально возможную жесткость для полетов на высоких скоростях у земли;
-
исключить двигательную установку из силовой схемы самолета для упрощения модификации по типу моторов;
-
обеспечить возможность дальнейшего улучшения летно-технических характеристик самолета;
-
получить высокие аэродинамические характеристики на разных режимах полета.
Продувка модели данной компоновки в ЦАГИ показала аэродинамическое качество 17,5 на скорости 0,8 Маха и 7,3 при 3,0 Маха. Для сравнения, те же 17,5 у пассажирского Ил-86, который является дозвуковым пассажирским самолетом.
Аэродинамическое качество летательного аппарата — отношение подъемной силы к лобовому сопротивлению (или отношение их коэффициентов) в поточной системе координат при данном угле атаки. Большему аэродинамическому качеству соответствует большая подъёмная сила и (или) меньшее сопротивление движению.
Величина качества для современных самолетов может достигать 14-15, а для планеров 45-50. Это означает, что крыло самолета может создавать подъемную силу, превышающую лобовое сопротивление в 14-15 и более раз.
Продувки также показали, что самолет при выбранной схеме обладает 5% неустойчивостью. Парировать ее можно было с помощью ЭДСУ, но в качестве альтернативы была разработана еще одна схема с удлиненной носовой частью, выступающим фонарем и горизонтальным оперением. Однако для аванпроекта ее в итоге не выбрали.
Силовая установка
Создание Т-4МС подразумевало несколько этапов, в ходе которых планировалось постепенное повышение характеристик путем установки более совершенного оборудования и других улучшений. На первом этапе самолет планировалось оснастить четырьмя двигателями РД-36-41 от «обычного» Т-4 с максимальной тягой в 16 500 кгс. На втором этапе их собирались заменить на новые моторы К-101 (развитие РД-36) с максимальной тягой уже в 20 000 кгс.
Вооружение
Согласно проекту, вооружение размещалось в двух отдельных внутренних отсеках, оборудованных теплоизоляцией, системами вентиляции и кондиционирования, а также на внешних держателях. В его номенклатуру входили крылатые ракеты Х-45, аэробаллистические ракеты (Х-2000 или Х-15), неуправляемые авиабомбы вплоть до ФАБ-9000, разовые бомбовые кассеты, авиационные мины и торпеды. В перспективе ничего не мешало оснастить самолеты и новыми типами ракет, например, Х-55.
Нормальная боевая нагрузка составляла 9 тонн — это, например, две ракеты Х-45 (по 4,5 тонны), одна Х-2000 (6,5 тонны) или восемь Х-15 (по 1,1 тонны). Ее превышение требовалось компенсировать недоливом топлива, чтобы не выйти за предельную взлетную массу в 170 тонн.
Всего внутри отсеков вооружения можно было разместить до 36 тонн бомб. А если смонтировать еще и внешние точки подвески, то все 45. Скорее всего, при такой нагрузке боевой радиус проседал бы критически, но судить об этом трудно, поскольку достоверных данных по объему топлива во внутренних баках нет. Если же отталкиваться от представленной в ряде источников сухой массы в 123 тонны, то при загрузке 45 тонн ракет и бомб, на керосин оставалось бы всего две тонны.
Экипаж
Экипаж состоял из командира, второго пилота и штурмана. Летчики размещались плечом к плечу в передней части кабины, штурман — сзади, за негерметичной перегородкой. Фонарь кабины фактически отсутствовал, но благодаря форме носовой части обеспечивался нормальный обзор вперед и вверх. Для улучшения обзора вниз на посадке планировалось установить открывающиеся створки.
Все члены экипажа в полете должны были находиться в скафандрах, экстренное покидание обеспечивалось креслами К-36 на всех режимах полета.
Расчетные характеристики
Т-4МС остался лишь в виде аванпроекта, масштабных моделей и продувочных макетов, так что его летно-технические характеристики, за исключением размеров и показателей реально существовавших двигателей, являются расчетными.
-
Длина: 41,2 м
-
Высота: 8,0 м.
-
Размах крыла: 40,8 / 25,0 м.
-
Максимальная взлетная масса: 170 т.
-
Максимальная скорость: 3200 км/ч на высоте и 1100 км/ч у земли.
-
Максимальная дальность полета с нормальной боевой нагрузкой без дозаправки в воздухе с двигателями РД-36-41:
— при скорости 3 000 км/ч — 7 500 км;
— при скорости 900 км/ч — 11 000 км.
-
Боевая нагрузка:
— нормальная — 9 т;
— максимальная — 45 т.
Судьбоносный техсовет
Осенью 1972 года в Министерстве авиационной промышленности состоялся технический совет, на котором рассматривались проекты нового стратегического бомбардировщика, подготовленные КБ Туполева, Сухого и Мясищева.
Алексей Андреевич Туполев (сын А.Н. Туполева, на тот момент главный конструктор завода и заместитель генерального конструктора ОКБ) представил проект самолета «160», в котором широко использовались наработки по пассажирскому Ту-144. Присутствовавший на совете главком дальней авиации Василий Решетников прервал доклад конструктора и раскритиковал проект.
«Спустя минут пять, а может, десять, я поднялся и, прервав доклад, сообщил, что дальше мы рассматривать проект не намерены, поскольку спроектированный в свое время для нужд «Аэрофлота» пассажирский самолет даже в новом облике не сможет избавиться от изначально ему присущих свойство, совершенно излишних в боевом варианте, и вместе с тем не сумеет воплотить в себе заданные требования для стратегического бомбардировщика», — вспоминал позднее Решетников в своих мемуарах. Также негативную реакцию комиссии вызвало ошибочно завышенное аэродинамическое качество представленного проекта самолета.
Вторым заслушали Наума Семеновича Чернякова – главного конструктора Т-4МС. Проект вызвал интерес со стороны военных и был высоко оценен. Третьим выступил Владимир Михайлович Мясищев, представив проект М-18, который внешне значительно напоминал будущий Ту-160 американский B-1A.
Документы по итогам того техсовета до сих пор не опубликованы, а основным источником информации являются мемуары участников. Поэтому можно встретить версии, что победителем «конкурса» признали Т-4МС или М-18. Также широко известна цитата из выступления главкома ВВС Павла Кутахова в конце совещания: «Знаете, давайте решать так. Да, проект ОКБ П.О. Сухого лучше, мы отдали ему должное, но оно уже втянулось в разработку истребителя Су-27, который нам очень и очень нужен. Поэтому примем такое решение: признаем, что победителем конкурса является ОКБ Сухого, обяжем передать все материалы в КБ Туполева, чтобы оно проводило дальнейшие работы…».
Учитывая, что дальше работы по новому «стратегу» поручили именно КБ Туполева, предложение Кутахова, судя по всему, поддержали остальные участники техсовета.
Дальнейшие работы, которые привели к созданию Ту-160, требуют отдельного большого рассказа. Нам же важно, что после судьбоносного техсовета осенью 1972 года работы по Т-4МС были прекращены. От наработок же по нему КБ Туполева отказалось.
Лучше Ту-160?
Т-4МС, безусловно, был очень интересным проектом. Не раз встречал публикации, в которых утверждалось, что этот необычный самолет показал бы более высокие характеристики, чем получившийся Ту-160.
Однако стоит особо подчеркнуть, что Т-4МС не вышел за стадию аванпроекта и не проходил никаких испытаний. Как правило, реальные характеристики серийной машины заметно отличаются от проектных, поэтому какие-то сравнения были бы возможны только при воплощении «Двухсотки» в металле.
Забавно, что, когда в прессе вспоминают про программу создания стратега нового поколения ПАК ДА, очень часто иллюстрируют публикации изображениями вымышленных самолетов, напоминающих именно Т-4МС. Вероятность, конечно, небольшая, но кто знает, вдруг наработки КБ Сухого 50-летней давности пригодятся в XXI веке.
Источник — https://dzen.ru/a/ab_Utnr75z6c7VCC


























